產品系列



TGL型尼龍內齒圈鼓形齒式聯軸器為國標型號,我廠生產的另一種尼龍內齒圈聯軸器為NL型尼龍內齒圈鼓形齒式聯軸器。
尼龍內齒圈齒聯軸器其內齒圈材料采用MC尼龍材料,外齒軸套采用45號鍛鋼,具有尺寸小、重量輕、轉動慣量小、噪音小、裝拆方便、不用潤滑等優點,可應用于中小轉矩的工況環境,例如風機、水泵、潤滑泵、紡織機械等。
TGL型鼓形齒尼龍齒圈聯軸器有以下三種結構型式:
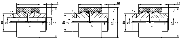
A---型基本型:B---型內擋圈型:C---型外擋圈型
鼓形齒聯軸器零件結構圖作為一種傳動裝置的鼓形齒聯軸器是由普通直齒聯軸器發展演變而來的,鼓形齒聯軸器在許多的工業已有種種標準及系列產品,由兩個鼓形外齒套與一對直齒內齒齒圈等零件組成。靠內,外齒的嚙合傳遞轉矩,并通鼓形外齒套的直齒的內齒圈的軸線擺動(稱角向位移)來補償倆傳動軸線的相對偏移。齒長方向的鼓度越大,其角向位移越大,達6°,一般使用推薦1°~1.5°,而舊的齒輪聯軸器只允許0.5°;從彎曲強度和承載能力來看,在相同的工作條件下鼓形齒聯軸器傳遞扭矩可提高15~20%。齒長方向的鼓度,使齒對接觸情況較好,因此鼓形齒式聯軸器有傳動能力大、角位移大、傳動平穩、壽命長等優點。
型號 | 公稱轉矩 Tn /N·m | 許可轉速[n] /r·min-1 | 軸孔直徑 d1、d2 | 軸孔長度 L J1 | D | D1 | B | B1 | S | d | 質量m/kg | 轉動慣量I /kg·m2 | |||||
A型 B型 | C型 | A型 B型 | C型 | A型 B型 | C型 | A型 B型 | C型 | A型 B型 | C型 | ||||||||
TGLA1 TGLB1 | 10 | 10000 | 6、7 | 16 | 40 | - | 25 | 38 | - | 17 | - | 4 | - | 0.2 | - | 0.00003 | - |
8、9 | 20 | M5 | |||||||||||||||
10、11 | 22 | ||||||||||||||||
12、14 | 27 | ||||||||||||||||
TGLA2 TGLB2 | 16 | 9000 | 8、9 | 20 | 48 | - | 32 | 38 | - | 17 | - | 4 | M5 | 0.278 | - | 0.00006 | - |
10、11 | 22 | ||||||||||||||||
12、14 | 27 | ||||||||||||||||
16、18、19 | 30 | ||||||||||||||||
TGLA3 TGLB3 TGLC3 | 31.5 | 8500 | 10、11 | 22 | 56 | 58 | 36 | 42 | 52 | 19 | - | 4 | M5 | 0.482 | 0.533 | 0.00012 | 0.00015 |
12、14 | 27 | 24 | |||||||||||||||
16、18、19 | 30 | ||||||||||||||||
20、22、24 | 38 | ||||||||||||||||
TGLA4 TGLB4 TGLC4 | 45 | 8000 | 12、14 | 27 | 66 | 70 | 45 | 46 | - | 21 | 26 | 4 | M8 | 0.815 | 0.869 | 0.00033 | 0.0004 |
16、18、19 | 30 | 56 | |||||||||||||||
20、22、24 | 38 | ||||||||||||||||
25、28 | 44 | ||||||||||||||||
TGLA5 TGLB5 TGLC5 | 63 | 7500 | 14 | 27 | 75 | 85 | 50 | 48 | - | 22 | 27 | 4 | M8 | 1.39 | 1.52 | 0.00072 | 0.00088 |
16、18、19 | 30 | 58 | |||||||||||||||
20、22、24 | 38 | ||||||||||||||||
25、28 | 44 | ||||||||||||||||
30、32 | 60 | ||||||||||||||||
TGLA6 TGLB6 TGLC6 | 80 | 6700 | 16、18、19 | 30 | 82 | 90 | 58 | 48 | 58 | 22 | 27 | 4 | M8 | 2.02 | 2.15 | 0.0012 | 0.0015 |
20、22、24 | 38 | ||||||||||||||||
25、28 | 44 | ||||||||||||||||
30、32、35、38 | 60 | ||||||||||||||||
TGLA7 TGLB7 TGLC7 | 100 | 6000 | 20、22、24 | 38 | 92 | 100 | 65 | 50 | 60 | 23 | 28 | 4 | M8 | 3.01 | 3.14 | 0.0024 | 0.0027 |
25、28 | 44 | ||||||||||||||||
30、32、35、38 | 60 | ||||||||||||||||
40、42 | 84 | ||||||||||||||||
TGLA8 TGLB8 TGLC8 | 140 | 5600 | 22、24 | 38 | 100 | 100 | 72 | 50 | 60 | 23 | 28 | 4 | M8 | 4.06 | 4.18 | 0.0037 | 0.0039 |
25、28 | 44 | ||||||||||||||||
30、32、35、38 | 60 | ||||||||||||||||
40、42、45、48 | 84 | ||||||||||||||||
TGLA9 TGLB9 TGLC9 | 355 | 4000 | 25、28 | 44 | 140 | 140 | 96 | 72 | 85 | 34 | 41 | 4 | M10 | 8.25 | 8.51 | 0.0155 | 0.0166 |
30、32、35、38 | 60 | ||||||||||||||||
40、42、45、48、50、55、56 | 84 | ||||||||||||||||
60、63、65、70 | 107 | ||||||||||||||||
TGLA10 TGLB10 TGLC10 | 710 | 3150 | 30、32、35、38 | 60 | 175 | 175 | 128 | 95 | 95 | 45 | 45 | 6 | M10 | 16.92 | 17.1 | 0.052 | 0.0535 |
40、42、45、48、50、55、56 | 84 | ||||||||||||||||
60、63、65、70、71、75 | 107 | ||||||||||||||||
80、85 | 132 |


